Пульт управления состоит из лицевой панели и задней крышки. На лицевой панели размещены световая индикация/индикатор и элементы управления (кнопки, переключатель и/или потенциометр), комбинация зависит от выбранной модели ПУ.
Система обозначения:
ПУ-2- Х Y Z
ПУ-2 – корпус кнопочного поста на 2 местаХ – тип индикатора:
0: индикация отсутствует.
1: лампа LED зеленая, матрица 22 мм. напряжение 24 V DC.
2: лампа LED зеленая, матрица 22 мм. напряжение 230 V AC.
4: лампа LED красная, матрица 22 мм. напряжение 24 V DC.
5: лампа LED красная, матрица 22 мм. напряжение 230 V AC.
6: измеритель аналоговых сигналов ИТП-11, матрица 22 мм.
7:
- лампа LED зеленая, матрица 22 мм. напряжение 24 V DC.
- лампа LED красная, матрица 22 мм. напряжение 24 V DC.
8:
- лампа LED зеленая, матрица 22 мм. напряжение 230 V AC.
- лампа LED красная, матрица 22 мм. напряжение 230 V AC.
Y – кнопки/переключатели:
0: кнопки/переключатели не устанавливаются.
1: переключатель с фиксацией 2 позиции 1НО, матрица 22 мм.
2: переключатель с фиксацией 3 позиции 2НО, матрица 22 мм.
6 instart-info.ru
3:
– кнопка зеленая Пуск 1НО, матрица 22 мм.
– кнопка красная Стоп 1НЗ+1НО, матрица 22 мм.
4:
– кнопка зеленая Пуск 1НО, матрица 22 мм.
– кнопка красная Стоп 1НЗ+1НО, матрица 22 мм.
– переключатель с фиксацией 2 позиции 1НО, матрица 22 мм.
5:
– кнопка зеленая Пуск 1НО, матрица 22 мм.
– кнопка красная Стоп 1НЗ+1НО, матрица 22 мм.
– кнопка черная Реверс 1НО, матрица 22 мм.
6 – комбинированная кнопка Пуск-Стоп, матрица 22 мм.
7 – красная кнопка-грибок «Аварийный стоп».
Z – потенциометр:
0 – потенциометр не устанавливается.
1 – потенциометр 5 кОм 2 Вт.
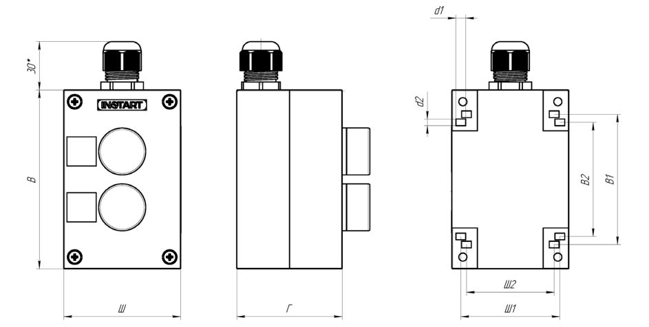
Габаритные размеры

| Модель ПУ | Габаритные размеры, мм | Установочные размеры, мм | ||||||||||||||||||||||
| Ш | В | Г | Ш1 | Ш2 | В1 | В2 | d1 | d2 | ||||||||||||||||
| ПУ-2- XYZ | 70 | 110 | 65 | 61 | 54 | 81 | 71 | 6 | 4,1 | |||||||||||||||
